| |
全自动反冲洗过滤器 |
一、功能与用途:
全自动反冲洗过滤器广泛应用于冶金、化工、石油、造纸、医药、食品、采矿、电力、城市给水等领域。诸如工业废水、循环水的过滤、乳化液的再生、废油过滤处理、冶金行业的连铸水系统、高炉水系统,热轧用高压水除鳞系统。是一种先进、高效且易操作的全自动过滤装置。
1、冷却水处理——冷却塔、补水系统、空调系统、直流系统水过滤热交换系统。
2、原水处理——可对地表河水、湖水、海水、水库水、地下水过滤。
3、工业循环用水过滤——在对水质有一定要求的设备如冷却塔、轧机、连铸机、抛光、水泵、电磁阀、离子交换器、喷雾器、热交换器等或供排水管路上使用,可过滤掉水中杂质,避免管路、喷嘴等零部件堵塞。
4、灌溉——尤其适用于高流量、杂质含量高的水源,农业灌溉、喷灌、公园、高尔夫球场、草皮浇灌等。
5、能源站——热电厂带有热量的废水过滤。
二、性能特点 1、自动清洗:本机利用自身过滤出的清液,自动反冲洗滤芯,不需拆下滤芯清洗,也不需另配清洗系统。 2、连续供水:本机罐体内装有多个圆柱形滤芯同时工作,反冲时逐一清洗每个滤芯,其它滤芯仍在连续过滤,可保证滤液的连续供给。 3、反冲洗耗水量少:本机反冲时同一时间只清洗一到二只滤芯,占整个滤芯数量的十几到二十几分之一,所以排污耗水量小于设计流量的5%,比传统结构降低了一倍以上。 4、过滤面积大:由于罐体内为布置多个圆柱形滤芯,充分利用了容器空间,有效过滤面积可达入口面积的4倍以上,比传统结构增加了一倍左右。 5、反冲洗效果好:由于滤芯缝隙采用楔形结构,固体杂质截留于表面而不会堵塞缝隙,同时喇叭口形成射流,反冲洗效果好。 6、滤芯强度高:由于滤芯采用不锈钢丝条焊接,在长度方向还焊有有多道环箍加强,该滤芯在保证过滤的精度前提下具有足够的抗变形的刚度和强度。 7、密封机构可靠:本机改变了传统设计,滤芯固定,采用排污叉管旋转,叉管上端装有专门设计的密封,与固定隔板接触部分为四氟材料,耐磨损,同时保证有合适比压,密封可靠。 8、自动化程度高:为满足电站自动化程度日益提高的要求,本机控制系统采用高档电气元件,反冲洗可自动(定时、差压)、手动切换,同时易于实现远程监控及方便与上位机连接。
|
| 三、型号说明: |
|
| 举例:ZDLD350/0.2-0.6A,是指主管道公称直径DN350的多滤芯式反冲洗过滤器,其过滤精度为0.2mm,设计压力为0.6MPa,壳体为碳钢,内件为不锈钢。 |
ZDLD多滤芯式全自动反冲洗过滤器 |
一、工作原理
本过滤器由壳体、多元滤芯、反冲洗机构、电控箱、反洗电机、排污电动阀门和差压控制器等部分组成。壳体内的横隔板将其内腔分为上、下两腔,上腔内配有多个滤芯,这样充分利用了过滤空间,显著缩小了过滤器的体积,下腔内安装有反冲洗吸盘。工作时,浊液经入口进入过滤器下腔,又经隔板孔进入滤芯的内腔。大于过滤芯缝隙的杂质被截留,净液穿过缝隙到达上腔最后从出口送出
本过滤器芯采用高强度的金属滤网,通过压差控制、定时控制自动清洗滤芯。当过滤器内杂质积聚在滤芯表面引起进出口压差增大到设定值,或定时器达到预置时间时,电动控制箱发出信号驱动反冲洗机构。当反冲洗吸盘口与滤芯进口正对时,电动排污阀打开,此时系统泄压排水,吸盘与滤芯内侧出现一个相对压力低于滤芯外侧水压的负压区,迫使部分净循环水从滤芯外侧流入滤芯内侧,吸附在滤芯内壁上的杂质微粒随水流进穰盘内并从排污阀排出。当过滤器进出口压差恢复正常或定时器设定时间结束,反洗电机停止运转,电动排污阀关闭。整个过程中,物料不断流,实现了连续化,自动化生产。
二、原理图示 |
|
| 三、滤芯作用图示 |
|
| 四、示意图 |
 |
特殊设计的楔形结构金属滤芯使得滤芯
内部产生喷射效果,任何颗粒杂质都将
从光滑的内壁上被冲走。 |
|
|
|
ZDL单滤筒转刷式全自动反冲洗过滤器 |
一、设备结构及工作原理
单滤筒转刷式反冲洗过滤器由壳体、楔形滤筒、反冲洗机构、电控箱、反洗电机、电动阀门和差压控制器、压力表等部分组成。
壳体内楔形滤筒内安装有一套转刷机构。工作时,浊液经入口进入过滤器通过楔形滤筒内腔,大于过滤芯缝隙的杂质被截留,净液穿过缝隙到达筒体上部最后从出口送出。
本过滤器芯采用高强度楔形滤网,通过压差控制、定时控制自动清洗滤芯。当过滤器内杂质积聚在滤芯表面引起进出口压差增大到设定值,或定时器达到预置时间时,电动控制箱发出信号,控制器启动电动头电机带动刷子旋转刷掉滤网上的污物杂质。同时打开排污阀,污物从排污阀排走。当过滤器进出口压差恢复正常或定时器设定时间结束,电机停止运转,电动排污阀关闭。整个过程中,物料不断流,反洗耗水量少,实现了连续化,自动化生产。
二、结构示意图 |
|
| 三、ZDL单滤筒转刷式全自动反冲洗过滤器技术参数及安装尺寸 |
型号
参数 |
ZDL
80 |
ZDL
100 |
ZDL
125 |
ZDL
150 |
ZDL
200 |
ZDL
250 |
ZDL
300 |
ZDL
350 |
ZDL
400 |
ZDL
450 |
ZDL
500 |
ZDL
600 |
工作电压 |
交流380V50Hz |
功率(kW) |
0.25 |
0.37 |
0.37 |
0.55 |
0.55 |
0.75 |
0.75 |
0.75 |
1.1 |
1.5 |
2.20 |
2.20 |
经济流量(m3/h) |
45 |
65 |
105 |
150 |
260 |
410 |
590 |
800 |
1050 |
1320 |
1630 |
2350 |
工作压力(MPa) |
0.1—1.6 |
过滤精度(mm) |
0.1-2.0 |
过滤面积(cm2) |
1160 |
1360 |
2090 |
3000 |
5270 |
7860 |
11400 |
15550 |
20340 |
25750 |
31780 |
42290 |
进出口公称通径(mm) |
DN80 |
DN100 |
DN125 |
DN150 |
DN200 |
DN250 |
DN300 |
DN350 |
DN400 |
DN450 |
DN500 |
DN600 |
排污阀口公称通径(mm) |
DN50- DN80 |
排污时间(秒) |
60-120 |
|
| |
型号 |
管经 |
H |
H1 |
H2 |
Y |
L |
(inch) |
mm |
mm |
mm |
mm |
mm |
ZDL-80 |
3 |
886 |
376 |
718 |
683 |
257 |
ZDL-100 |
4 |
936 |
411 |
770 |
683 |
257 |
ZDL-125 |
5 |
1018 |
461 |
852 |
683 |
257 |
ZDL-150 |
6 |
1111 |
523 |
951 |
744 |
303 |
ZDL-200 |
8 |
1427 |
715 |
1237 |
820 |
349 |
ZDL-250 |
10 |
1685 |
853 |
1439 |
874 |
393 |
ZDL-300 |
12 |
1815 |
944 |
1569 |
939 |
458 |
ZDL-350 |
14 |
2082 |
1094 |
1792 |
1026 |
545 |
ZDL-400 |
16 |
2360 |
1239 |
2019 |
1098 |
608 |
ZDL-450 |
18 |
2632 |
1389 |
2245 |
1199 |
679 |
ZDL-500 |
20 |
2919 |
1547 |
2483 |
1288 |
717 |
ZDL-600 |
24 |
3510 |
1865 |
2864 |
1458 |
864 |
|
| |
A:全自动反冲洗过滤器控制器使用说明:
1、定时反洗工作时间设定是指你需要过滤器多长时间间隔开始自动反洗排污,就是指第一次排污结束到第二次排污开始之间的间隔时间,它由时间继电器KT1控制,KT1位于电控箱体内操作面板上左侧的那个时间继电器,它的调节范围为(0-5小时),出厂时一般调到2小时,如果需要调节可将KT在断电的状态下转动旋钮来使指针对正想要设定的时间。
2、排污时间的设定是指过滤器电动头开始运转,电动阀打开排污持续的时间,它由时间继电器KT2控制,KT2位于电控箱体内操作面板
上的右侧的那个时间继电器,它的调节范围为(0—5分钟),出厂时一般
调到2分钟,如果需要调节转动旋钮来使指针对正想要设定的时间。
3、按以上步骤调节完毕,再合上三相四线制电源,控制器即可自动工作。
B:全自动反冲洗过滤器使用注意事项:
1、请彻底清扫管道内污泥、焊渣及其它脏物后再与本过滤器联接。
2、本设备提供的差压器压差值出厂时已设定好,请用户不要擅自调整。
3、压差延时时间出厂时已设定好请勿擅自调整。
4、可能由于过滤的介质比较混浊,经过本过滤器后很快导致进出口压差增大使得过滤器频繁反洗工作,遇到此情况适当减少定时清洗过滤间隔时间。 (注意:反洗电机与电动排污阀是联动的,当反洗电机工作时自排阀是自动打开排污的,反洗电机停止工作时自排阀即自动关闭。)
|
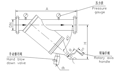
手动自清洗式过滤器 |
一、用途:
用于纯水制备及液压系统冷却器用水、热电厂、化工厂、锅炉冷凝水、水压机械用水的净化过滤。在冶金、电力、化工、石油等行业得到广泛应用。
二、特点:
手动自清洗过滤器SYL、STL和SZL的内部结构与ZDL(单筒式)过滤器基本相同手动自清洗、不停机维修:
清洗时无需拆卸过滤器任何部件,只要开启排污阀,并同时转动吸污嘴主轴旋转3~4圈即可清洗,清洗后立刻关闭排污阀。观察两只压力表可见清洗前后的压差变化。清洗过程快速、节水:一次全过程清洗时间只需几分钟,并且保持连续工作,不停机维修,一次清洗所耗费水量只占主管道平均流量的1~2%。
采用先进的过滤材料:
(1)不锈钢V型网滤材,精度有200、400、800μm。(2)不锈钢T型网滤材,精度有50、100、20μm,滤材其性能:过滤精度高、初始压力损失小、纳污量大、造型强度高、反冲洗效果极好、使用寿命长。
小型手动清洗过滤器操作是直接用人工转动反洗臂手柄,而大中型手动清洗过滤器由于反洗臂旋转力矩大,所以在手柄与反洗臂之间应增设一只减速器,这样才能用人工转动反洗臂。
SYL、STL和SZL可适用于工业水、热水和空气系统的连续过滤。按设计压力可分为1.0、1.6、2.5和4.0四个等级,也可根据用户需要另行设计。
SYL、STL和SZL与ZDL一样,也采用了现代新型不锈钢V型网筒,过滤精度0.1、0.2、0.4、0.6、0.8和1.0mm六个等级可供选择,也可根据用户需要另行设计更高的精度。
三、型号说明:
|
|
| 三、技术参数: |
参数
型号 |
通径
mm |
参考流量
M3/h |
过滤精度
μm |
额定压力
MPa |
反冲
耗水量 |
压力损失 |
重量
Kg |
最小 |
最大 |
SYL-50 |
50 |
30 |
50
100
200
400
800 |
A:1.0
B:1.6
C:2.5
D:4.0 |
为主管道流量1~2% |
0.02 MPa |
0.4 MPa |
67 |
SYL-65 |
65 |
40 |
71 |
SYL-80 |
80 |
50 |
129 |
SYL-100 |
100 |
70 |
173 |
SYL-150 |
150 |
150 |
340 |
SYL-200 |
200 |
200 |
485 |
SYL-250 |
250 |
300 |
630 |
SYL-300 |
300 |
400 |
825 |
SYL-400 |
400 |
600 |
1310 |
SYL-500 |
500 |
800 |
1920 |
|
注:(1)通径大于500mm的过滤器可按非标定货、请另索详细资料。
(2)表中重量是额定压力为A级1.0MPa的重量。
四、示意图 |
|
| 五、手动自清洗式过滤器SYL型外形尺寸 |
型号 |
DN |
A |
d1 |
H |
R |
S |
法兰参数 |
SYL-50 |
50 |
250 |
3/4″ |
230 |
95 |
80 |
法兰尺寸按照GB9119. □-88 中国标准执行。 |
SYL-65 |
65 |
340 |
3/4″ |
320 |
95 |
80 |
SYL-80 |
80 |
380 |
3/4″ |
355 |
95 |
80 |
SYL-100 |
100 |
420 |
1″ |
395 |
110 |
90 |
SYL-125 |
125 |
480 |
1″ |
445 |
110 |
90 |
SYL-150 |
150 |
540 |
1″ |
520 |
110 |
90 |
SYL-200 |
200 |
650 |
11/2″ |
625 |
125 |
95 |
SYL-250 |
250 |
750 |
11/2″ |
710 |
125 |
95 |
SYL-300 |
300 |
840 |
2″ |
815 |
125 |
95 |
SYL-400 |
400 |
1120 |
2″ |
1090 |
135 |
105 |
SYL-500 |
500 |
1400 |
21/2″ |
1365 |
135 |
105 |
SYL-600 |
600 |
1570 |
21/2″ |
1440 |
135 |
105 |
|
注:(1)法兰参数中执行标准内“□”代表压力等级代码。
(2)如用户需要,可声明执行其它国家法兰标准。
|